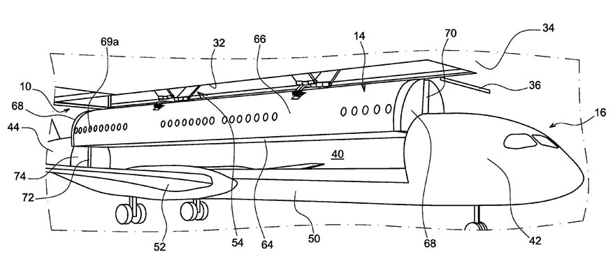
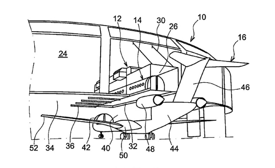
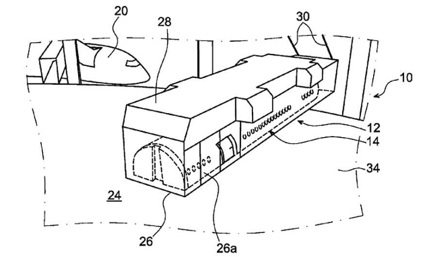
La cabine amovible




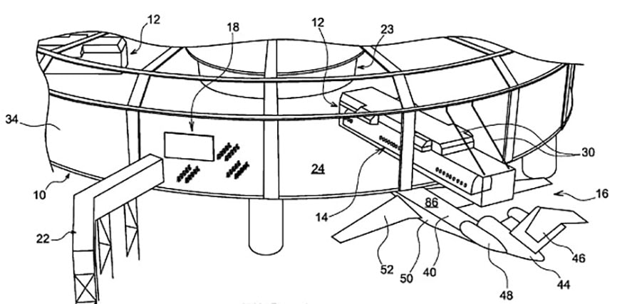
L’habitacle bionique


L’inscription à UP’ est totalement gratuite
L’inscription est sans aucun engagement de votre part11
rejoignez gratuitement le cercle des lecteurs de UP’
Pour bénéficier d’une lecture illimitée de UP’
Pour soutenir le journalisme indépendant
Choisissez votre formule d’abonnement
Pour bénéficier d’une lecture illimitée de UP’
Pour soutenir le journalisme indépendant
Choisissez votre formule d’abonnement
Il vous reste 2 articles gratuits
abonnez-vous pour profiter de UP’ sans limite
L’inscription à UP’ est totalement gratuite
L’inscription est sans aucun engagement de votre part11







Déjà inscrit ? Je me connecte
Inscrivez-vous et lisez trois articles gratuitement. Recevez aussi notre newsletter pour être informé des dernières infos publiées.
→ Inscrivez-vous gratuitement pour poursuivre votre lecture.
Vous avez bénéficié de 3 articles gratuits pour découvrir UP’.




